Product
一 智能型雷达液位计
1. 产品概述


1.1 简介
JERD系列传感器是雷达式液位测量仪表,测量距离最大35米,可以用于存储罐、中间缓冲罐或过程容器的物位测量, 输出4…20mA模拟信号。
1.2 应用
● 采用非接触式测量
● 采用极其稳定的材料制造
● 测量液体、固体介质的物位
● 可以测量所有介电常数>1.8的介质
● 测量范围0…20m(可以扩展到35米)
● 采用两线制、回路供电的技术,供电电压和输出信号通过一根两芯电缆传输
● 4…20mA输出或数字型信号输出
● 分辨率1mm
● 不受噪音、蒸汽、粉尘、真空等工况影响
● 不受介质密度、粘稠度和温度的变化的影响
● 过程压力可达40bar
● 过程温度可达250℃
1.3测量原理
高频微波脉冲通过天线系统发射并接收,雷达波以光速运行,运行时间可以通过电子部件被转换成物位信号。一种特殊的时间延伸方法可以确保极短时间内稳定和精确的测量。
即使工况比较复杂的情况下,存在虚假回波,用最新的微处理技术和调试软件也可以准确的识别出物位的回波。

1.4 输入
天线接收反射的微波脉冲并将其传输给电子线路,微处理器对此信号进行处理,识别出微脉冲在物料表面所产生的回波。正确的回波信号识别由智能软件完成,精度可达到毫米级。距离物料表面的距离D与脉冲的时间行程T成正比: D=C×T/2 (其中C为光速)
因空罐的距离E已知,则物位L为: L=E-D
1.5 输出
通过输入空罐高度E(=零点),满罐高度F(=满量程)及一些应用参数来设定,应用参数将自动使仪表适应测量环境。对应于4-20mA输出。
2. 仪表介绍
JERD81系列智能雷达液位仪表
应 用 | :过程条件简单,腐蚀性的液体、浆料、固体比如:污水储罐,酸碱储罐,浆料储罐,固体颗粒,小型储油罐 |
测量范围 | :20米 |
过程连接 | :G11/2螺纹或11/2NPT |
介质温度 | :-40-120℃ |
过程压力 | :-1.0-3bar |
重复性 | :± 2mm |
精度 | :< 0.1% |
频率范围 | :6.8GHz |
防爆/防护等级 | :Exia II CT6/IP67 |
信 号 输 出 | :4…20mA/HART(两线) |
JERD81
应 用 | :存储或过程容器腐蚀性的液体、浆料、固体 比如:水液储罐,酸碱储罐,浆料储罐,固体颗粒,小型储油罐 |
测量范围 | :20米 |
过程连接 | :法兰 |
介质温度 | :-40-150℃ |
过程压力 | :-1.0-20bar |
重复性 | :± 2mm |
精度 | :< 0.1% |
频率范围 | : 6.8GHz |
防爆/防护等级 | :Exia II CT6/IP67 |
信 号 输 出 | : 4…20mA/HART(两线) |
JERD82
应 用 | :适应各种存储容器或过程计量环境,液体、浆料、固体,比如:原油、轻油储罐,原煤、粉煤仓位,挥发性液体储罐,焦碳料位,浆料储罐,固体颗粒 |
测量范围 | :35米 |
过程连接 | :法兰 |
过程温度 | :-40-250℃ |
过程压力 | :-1.0-40bar |
重复性 | :± 2mm |
精度 | :< 0.1% |
频率范围 | :6.8GHz |
防爆/防护等级 | :Exia II CT6/IP67 |
信 号 输 出 | :4…20mA/HART(两线) |
3. 安装指南
3.1 安装位置说明 ● 建议距离(1)罐体内壁至安装短管的外壁应大于罐直径的1/6; ● 离罐壁最小距离为300mm; ● 不能安装在入料口的上方(4)。 ● 不能安装在中心位置(3),如果安装在中央,会产生多重虚假回波,干扰回波会导致信号丢失。 ● 如果不能保持仪表与罐壁的距离,罐壁上的介质会黏附造成虚假回波,在调试仪表的时候应该进行虚假回波存储。 |

3.2 罐内安装
● 在信号波束内,应避免有如下安装物(1):例如限位开关,温度传感器等。
● 对称装置(2),如真空环,加热线圈,挡板等等。
● 如果罐内有(1)(2)干涉物件,应采用导波管进行测量。
3.3 安装选择
● 天线尺寸:天线越大,波束角越小,干扰回波将越弱。
● 天线调整:将天线调整到测量位置。
● 导波管:导波管用来避免干扰回波。

3.4 JERD81、JERD82的罐内安装
3.4.1 标准安装
● 雷达天线不可向罐壁倾斜。
● 为了使温度影响最小化,在对接法兰的连接处必须使用弹簧垫圈。
● 杆式天线的雷达波发射处必须伸出安装短管。
● 垂直放置杆式天线,不要让雷达束指向罐壁。

3.4.2 JERD81系列典型安装
● PTFE(聚四氟乙烯)的棒式天线特别适于测量腐蚀性的介质,如酸和碱。食品行业的无菌容器需要不起反应,且安装尺寸小的仪表,PTFE棒式天线不但不会起任何反应,而且所需的容器开孔很小,只有50mm或G11/2A螺纹开孔。

● 如果测量液体,棒式天线可以直接安装在容器 开孔上,开孔尺寸为:G11/2A、DN50…DN150,接管长度不能超过150mm(如果使用较长的天线,接管不能超过250mm),注意:PTFE棒式天线的机械承载能力有限,如果受到弯曲的力,会变形或折断
3.5 JERD83的罐内安装
3.5.1 标准安装
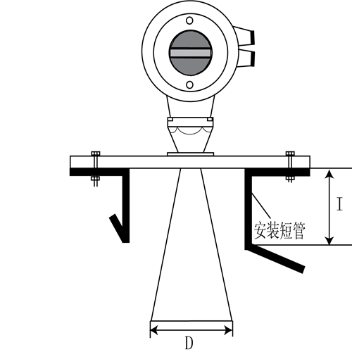
● 喇叭天线必须延伸出安装短管,
否则应使用天线延伸管。
● 喇叭天线必须调整至垂直,
不要让雷达束指向罐壁

3.5.2 安装短管较长时使用天线延伸管
● 当喇叭长度小于安装短管长度时,应使用天线延伸管。
● 如果喇叭口直径大于安装短管的直径,包括延伸管在内的天线需要从容器里
面安装,并将仪表抬高。选择延伸管使仪表至少抬高100mm。

特殊延伸管
● 若天线需要倾斜或垂直于罐壁安装,可使用120°或90°的延伸管。

从外部穿过塑料罐壁进行测量
● 介质的介电常数ε r ﹥10
●最高液面应低于罐顶500px
●距离H应大于100mm
● 建议使用支座安装以便调整至理想的H
● 若有可能应避免安装在冷藏或粘附的场合,天线与容器之间的空间应有保护措施
● 选择低介电常数的容器建造材料及相应的厚度,不得使用导电塑料
● 若有可能,使用天线DN250/10″
● 在罐外的波束范围内不要安装任何可能引起干扰的部件(如管子)


关注我们
联系方式
联系人:赵经理
电话:18014698989
地址:上海市闵行区苏召路1628号
上海精籁电子科技发展有限公司 沪ICP备2021026416号